Stellantis has submitted a patent filing to the United States Patent and Trademark Office (USPTO) that suggests a significant shift in its electrification strategy for off-road and rugged vehicles. The document, originally filed in July 2023 and published on February 6, 2024, details a method for adapting planetary gear hybrid systems—similar to the architecture found in the Chrysler Pacifica Hybrid—to work harmoniously with mechanical four-wheel-drive systems and multi-speed transfer cases. This move signals a potential evolution for the company’s Jeep and Ram brands as they seek to balance the demand for extreme off-road capability with increasingly stringent global emissions and fuel efficiency standards.
The core of the patent focuses on the integration of a planetary power-split system with traditional mechanical drivelines. While planetary gear sets are common in high-efficiency hybrids like the Toyota Prius and the aforementioned Chrysler Pacifica, they have historically been difficult to pair with the heavy-duty transfer cases required for rock crawling and trail driving. Stellantis’ new proposal aims to bridge this gap, potentially replacing or augmenting the current P2 hybrid systems used in its "4xe" lineup.
Evolution of the Stellantis Electrification Architecture
To understand the significance of this patent, one must look at the two distinct paths Stellantis has taken regarding hybrid powertrains. The Chrysler Pacifica Hybrid utilizes a "two-motor" e-CVT system. In this setup, a planetary gear set acts as a power-splitting device, managing torque from a 3.6-liter V-6 engine and two electric motors. This system is praised for its seamless operation and high efficiency in urban and suburban driving environments. However, because it relies on the electronic management of gear ratios, it has lacked the mechanical "grit" and torque multiplication found in traditional low-range transfer cases.
In contrast, the Jeep Wrangler 4xe and Grand Cherokee 4xe utilize a "P2" hybrid architecture. This system places a single electric motor between the engine and a traditional eight-speed automatic transmission. A second, smaller motor-generator is attached to the engine’s crankshaft via a belt. This allows the vehicle to retain a standard mechanical four-wheel-drive system, including a physical connection between the front and rear axles and a two-speed transfer case for low-range gearing. While effective for off-roading, the P2 system is generally considered less efficient than a planetary power-split system because it cannot decouple the engine and motors as flexibly during varied driving cycles.
Technical Challenges in Hybridizing Traditional Four-Wheel Drive
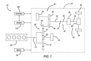
The patent filing explicitly acknowledges the limitations of current planetary systems when applied to rugged applications. Stellantis engineers noted that when a planetary gear system is combined with the transfer cases common in mechanical 4WD systems, several operational "pain points" emerge.

First, the transition between high and low range can be jarring. In a traditional internal combustion engine (ICE) vehicle, the driver often shifts the transfer case while the vehicle is stopped or moving very slowly, relying on mechanical synchronization. In a hybrid, the interaction between the instant torque of electric motors and the inertia of the engine makes this synchronization significantly more complex.
Second, the filing highlights the difficulty of engaging the splines of a low-range gear while the vehicle is stationary. Without a precise way to align the rotating components, the system can experience "shift shock" or fail to engage entirely. Finally, synchronizing shifts while already in a low-range setting poses a challenge for the electronic control units (ECUs) that must balance engine RPM, motor speed, and wheel speed across a mechanical link.
The Planetary Power-Split Solution: A New Engineering Paradigm
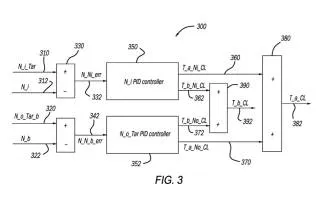
The solution proposed in the USPTO filing involves a sophisticated "disconnect device" and a novel torque-synchronization strategy. By incorporating a mechanism that can uncouple the engine and the electric motors from the rest of the driveline, Stellantis aims to use the precise torque of the electric motors to match the input and output shaft speeds of the transfer case.
Under this proposed system, the electric motors act as active synchronizers. Instead of relying on mechanical friction or driver timing, the system’s software calculates the exact rotational speed required for a seamless gear mesh. This would allow a vehicle to enjoy the fuel-saving benefits of a planetary e-CVT during daily commuting while maintaining the "trail-rated" mechanical locking capabilities required for Jeep’s core audience.
By "splitting the difference" between the Pacifica’s efficiency and the Wrangler’s durability, Stellantis could theoretically produce a vehicle that offers superior MPGe (miles per gallon equivalent) ratings without sacrificing the 100:1 crawl ratios desired by off-road enthusiasts.
Chronology of Hybrid Development at Stellantis
The journey toward this patent began over a decade ago with the "Global Hybrid Cooperation," a joint venture between Chrysler, General Motors, and BMW. This partnership led to the development of the Two-Mode Hybrid system used in the 2009 Chrysler Aspen and Dodge Durango hybrids.

- 2017: The Chrysler Pacifica Hybrid launches as the first plug-in hybrid minivan in the U.S. market, introducing the eFlite planetary transmission.
- 2020: Jeep unveils the Wrangler 4xe, opting for the P2 architecture to ensure maximum mechanical compatibility with existing off-road hardware.
- 2021: The Grand Cherokee 4xe is introduced, further solidifying the P2 system as the brand’s primary hybrid solution.
- 2022: Stellantis announces its "Dare Forward 2030" strategic plan, committing to 50% battery-electric vehicle (BEV) sales in the United States by the end of the decade.
- July 2023: Stellantis files the planetary gear 4WD patent with the USPTO.
- February 2024: The patent is published, sparking industry discussion about the next generation of 4xe vehicles.
Market Performance and Consumer Reception of 4xe Technology
The drive for a more efficient hybrid system is fueled by the commercial success of the current 4xe lineup. Despite the technical compromises of the P2 system, the Jeep Wrangler 4xe became the best-selling plug-in hybrid in the United States shortly after its release.
Data from 2023 indicated that the Wrangler 4xe and Grand Cherokee 4xe accounted for a significant portion of Jeep’s total sales volume. However, consumer feedback has occasionally highlighted the "clunky" nature of the P2 system when transitioning between electric and gasoline power, particularly in cold weather or under heavy load. A planetary-based system, known for its smoothness, would address these NVH (noise, vibration, and harshness) concerns while potentially improving the Wrangler’s electric-only range, which currently sits at a modest 21 miles.
Industry analysts suggest that as Jeep looks to expand its hybrid offerings to include non-plug-in variants (HEVs), the planetary system becomes even more attractive. HEVs rely more heavily on frequent engine-start/stop cycles and regenerative braking, areas where planetary gear sets traditionally outperform P2 setups.
Strategic Implications for the Future Jeep and Ram Lineup
The implications of this patent extend beyond the Jeep Wrangler. Stellantis is currently in the process of refreshing the Ram 1500 lineup, which has recently seen the introduction of the "Ramcharger"—an extended-range electric vehicle (Rex) that uses a gasoline engine solely as a generator.
However, for the mid-size truck segment and the more traditional 4×4 enthusiasts, a mechanical link remains a high priority. If Stellantis successfully implements this patented planetary 4WD system, it could find its way into a future Gladiator 4xe or a hybridized Ram 2500.
Furthermore, the patent indicates a defensive move against competitors. Toyota has already moved toward a "Power Split" hybrid system for its new Land Cruiser and Tacoma (i-FORCE MAX), though Toyota’s system still leans heavily on a traditional automatic transmission. Stellantis’ proposed design appears to be a more integrated approach that could offer a competitive edge in efficiency.

Regulatory Pressures and the Path Toward Dare Forward 2030
The timing of this patent filing coincides with increased pressure from the Environmental Protection Agency (EPA) and California Air Resources Board (CARB). With fuel economy standards set to tighten significantly through 2032, Stellantis must find ways to electrify its least aerodynamic and heaviest vehicles without alienating its customer base.
The "Dare Forward 2030" plan is not just about BEVs; it is about a total transition of the fleet. While the Jeep Recon and Wagoneer S will serve as pure-electric options, the brand acknowledges that a segment of its buyers—particularly those in rural areas or those who engage in long-distance overlanding—require the redundancy of a gasoline engine.
By refining the hybrid transmission, Stellantis can keep the internal combustion engine viable for several more years while meeting corporate average fuel economy (CAFE) targets. The patent suggests that the company is not content with off-the-shelf solutions and is willing to invest in bespoke engineering to maintain its dominance in the 4×4 sector.
Conclusion: A More Refined Off-Road Future
While a patent filing is not a guarantee of immediate production, it serves as a roadmap for a company’s research and development priorities. Stellantis’ attempt to marry the smooth, efficient power-splitting capability of the Chrysler Pacifica with the rugged, go-anywhere durability of the Jeep Wrangler represents a significant engineering challenge.
If the "disconnect device" and motor-synchronization technology described in the filing reach the assembly line, the next generation of 4xe vehicles could offer a transformative driving experience. For enthusiasts, it means the end of "shift shock" and the beginning of a more refined era of off-roading. For the industry, it is a clear signal that the planetary gear set—once reserved for the "eco-friendly" commuter car—is ready to get its gears dirty.



